Das Michelson Experiment 1881
Historische Abbildungen
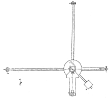
Das rekonstruierte historische Michelson
Experiment 1881 in Potsdam
Alle
Abbildungen sind urheberrechtlich geschützt
© 2005 MAZ
Potsdam/Michael Hübner

Die Rekonstruktion
Alle
Abbildungen sind urheberrechtlich geschützt
© 1969 Strohbusch and © 2005 MAZ
Potsdam/Michael Hübner

Bemerkungen und Hinweise an Thomas.Kartschall@pik-potsdam.de.
- Zurück
zur Homepage des Michelson Experiments
thomas@pik-potsdam.de
- Created: 13 Jul 2005 Updated: 10 Nov 2017